volver a
>
Mowers
>
Petrol
>
Drive up to 42 cm
>
Power Edition
>
Power Edition 40 TMA
>
55 XM
>
Air cleaner, Muffler
Lista de repuestos para Wolf Mowers Air cleaner, Muffler
pos.
descripción
Número de pieza
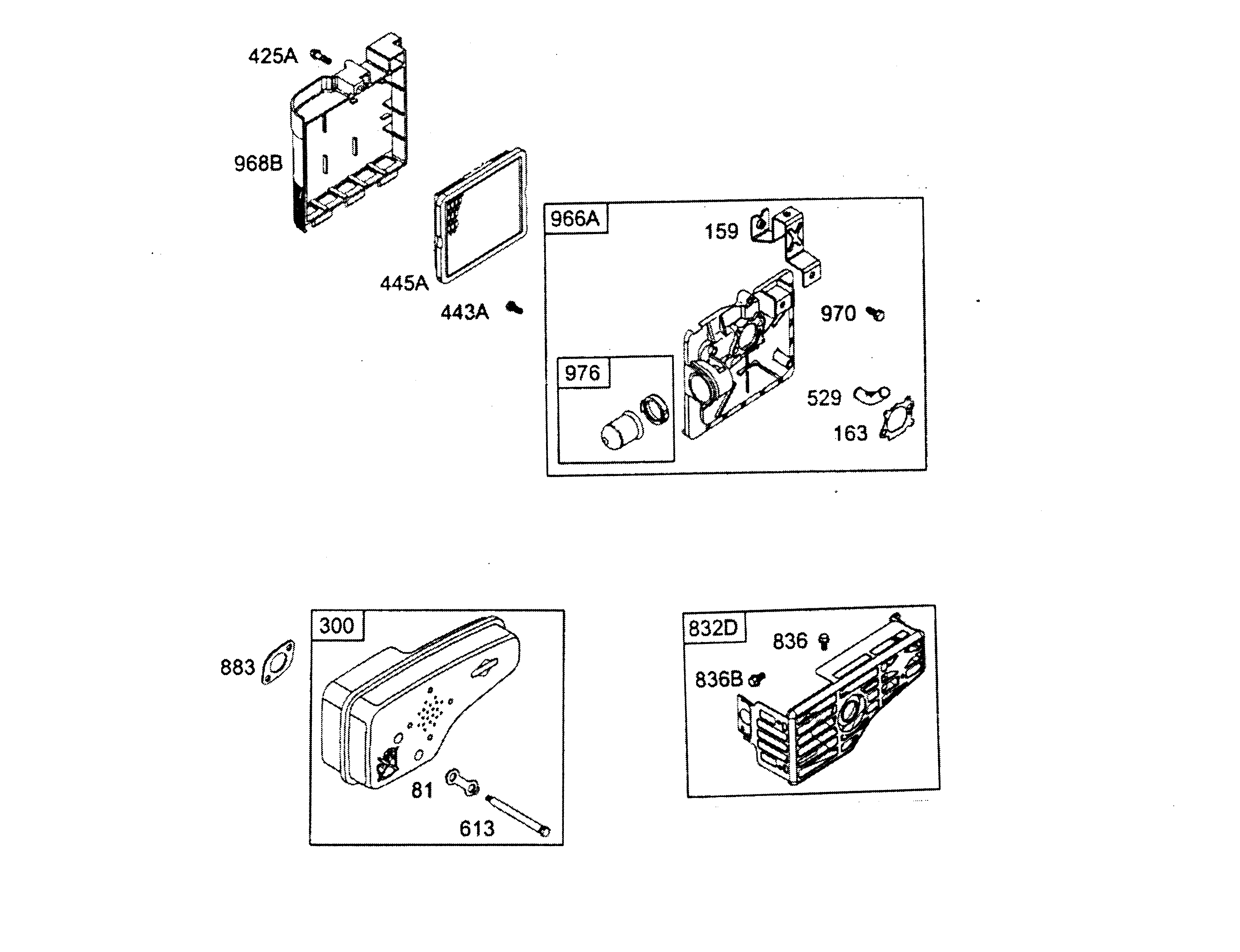
81
Lock-Piston Pin
2063 501
159
Bracket - Air
2063 503
163
Choke
2059 220
300
Muffler Without Catalyst
2069 019
425A
Screw
2059 216
443A
Screw
2059 217
445A
Filter Element
2058 411
529
Grommet
2059 409
613
Screw
2063 124
832D
Muffler Shield Motor Without Catalyst
2069 176
836
Screw
2059 218
836B
Screw
1001 153
883
Muffler Seal
2059 501
966A
Retainer-Air Filter
2059 405
968B
Cover
2059 219
970
Screw
2059 213
976
Primer
2057 181
Wolf
Handtools
Hedge-shears
Secateurs
Grass-shears
Loppers
Tree Lopper
Tree care
Illumination, Ambiance
Battery-shears
Shredders
Saws
Grass-Trimmers
Reel-mowers
Spreaders / Portax
Irrigation
Scarifiers / Aerators
Mowers
Accu
Petrol
Without drive up to 42 cm
Without drive from 43 cm on
Drive up to 42 cm
series 2
series 6
Premio
Power Edition
Power Edition 40 KA
Power Edition 40 TMA
Data sheet
Chassis
Axle, Wheels, Height-adjustment
Handlebar compl.
Motor, Blade
grass collector
MK 40 (4011 075) Mulchkit
55 XM
Cylinder assembly
Piston group, Valve group, Crankshaft, Sump bases
Carburetor (Primer system)
Control, Flywheel, Motor-starter
Cover, Fuel tank, Blower housing
Air cleaner, Muffler
Electrical, Rewind - starter
Gasket set
Esprit
Others
Compact Plus
Drive from 43 cm on
Electric start / Touch 'n Mow
Electro
Ride-on Mowers
Petrol engines
Optional extras
Condiciones
(C) by motoruf