volver a
>
Roth / TORO
>
Ride-On Mowers
>
Traktor
>
12-38 XL
>
391/71202
>
5900001
>
Shift Assy.
Lista de repuestos para Toro Roth / TORO Shift Assy.
pos.
descripción
Número de pieza
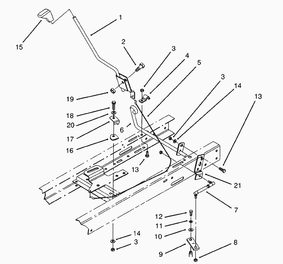
1
Lever-Shift
88-5300
2
Bolt-Shoulder
5-4015
3
MUTTER
3296-29
4
Clamp-Shift Pivot
88-4810
5
Cable-Clutch
55-9321
6
Pivot-Shift
92-5796
7
Rod-Shift Tie
88-5530
8
Nut-Lock
3296-3
9
Lever-Trans. Shift
88-5340
10
Spacer
7-5461
11
Lockwasher
3253-3
12
Capscrew Hex. Hd.
329-23
13
Capscrew
322-3
14
Washer
3256-23
15
Knob-Engage Lever
62-1292
16
Guide-Cable
84-5610
17
Keeper-Cable
88-5930
18
Carriage Bolt
3230-3
19
Locknut
3296-39
20
Washer-Flat
3256-25
21
Lever-Shift Pivot
92-5794
Toro
Roth / TORO
Ride-On Mowers
Traktor
264-6
246 HE
244-5
212-H
212-5
17-44 HXLE
16-44 HXL
16-38 HXL
16-38 XLE
15-44 HXL
15-38 HXL
14-38 HXL
14-38 XL
13-38 HXL
13-38 XL
13-32 XLE
12-38 HXL
12-38 XL
391/71202
5900001
Peerlesss Transaxle Model No. 915-020 (Cont.)
Peerlesss Transaxle Model No. 915-020
Engine B&S Model 286707-0453-01
HOC Assy.
Transaxle Assy.
Electrical Assy.
Shift Assy.
Clutch Assy.
Engine Assy.
Steering Assy.
Front Axle Assy.
Seat Assy.
Hood Assy.
Frame Assy.
4900001
3900001
12-32 XL
264 H
265 H
267 H
268 H
270 H
520 xi
520 Lxi
523 Dxi
Rider
Mower decks
Attachements
Hand operated
Robin
Condiciones
(C) by motoruf