volver a
>
Robin
>
Brushcutter
>
NB31AU
>
Motor
Lista de repuestos para Toro Robin Motor
Lista de repuestos 1
Lista de repuestos 2
pos.
descripción
Número de pieza
1
KURBELGEHAEUSE
5311002000
3
DICHTRING
0440129991
5
ZYLINDER
5311500600
7
ZYLINDERDICHTUNG
5311500300
8
GEHAEUSEDICHTUNG
5311500400
10
SCHRAUBE
0119059950
11
SCHRAUBE
0140059790
14
KURBELWELLE MIT PLEUEL
5312002000
16
KOLBEN
5312500600
17
KOLBENRING
5982500200
19
KOLBENBOLZEN
5312500400
21
NADELLAGER
0610089990
22
BOLZENSICHERUNG
0565089980
25
WOODRUFF-KEIL
0053203101
30
AUSPUFF
5243001002
31
InnensechskantSCHRAUBE
0119059670
32
AUSPUFFABDECKUNG
5313500300
33
AUSPUFFDICHTUNG
5313500600
35
ZWISCHENFLANSCH
5313500500
36
MUTTER
0021705000
38
DICHTUNG
5313500700
42
SCHRAUBE
0119059630
45
SCHRAUBE
0140059920
50
RUECKLAUFSTARTER KPL.
5315001001
51
GRIFF
5305002110
52
STARTERSEIL
5245001050
53
STARTERFEDER
5105015040
54
SEILSCHEIBE
5025001010
55
BREMSFEDER
5105015050
56
STARTERKLINKE
5105015020
57
BREMSPLATTE
5505001030
58
RUECKHOLFEDER
5105015060
59
SCHRAUBE
5105015110
60
SEILSCHEIBE
5315500400
63
MOTORABDECKUNG
5315500000
64
LEITBLECH
5315004000
67
BOLZEN KPL.
6202006000
70
SCHRAUBE
0119059830
80
TANK
5316501800
81
KRAFTSTOFFLEITUNG
0851169970
82
BENZINFILTER
5236503900
84
TANKHALTER
5316001000
85
ZWISCHENSTUECK
5316500400
86
GUMMIPOLSTER
5316500200
91
TANKDECKEL
5316014000
97
ZUENDSPULE
5317009020-2
98
SCHWUNGSCHEIBE
5317009010
100
TUELLE
5317500100
102
KERZENSTECKER
5317500200-1
104
FEDER
0654009931
106
ZUENDKERZE
0650149810
110
SCHRAUBE
0119059730
111
SCHRAUBE
0016606160
112
SCHEIBE
0200069920
113
FEDERRING
0032006000
120
STAENDER
6305500500
121
SCHRAUBE
0119059780
123
*** keine Bezeichnung vorhanden
6259501600
124
PVC-KLEBESCHILD
6259507500
125
KABEL
6165500200-1
126
DICHTUNG
5315502000
127
PUFFER
5317500300
128
SCHRAUBE
0140059590
129
SCHEIBE
0031105000
130
DISTANZBUECHSE
0230059990
131
HALTEBAND F. TANKDECKEL
6255021001
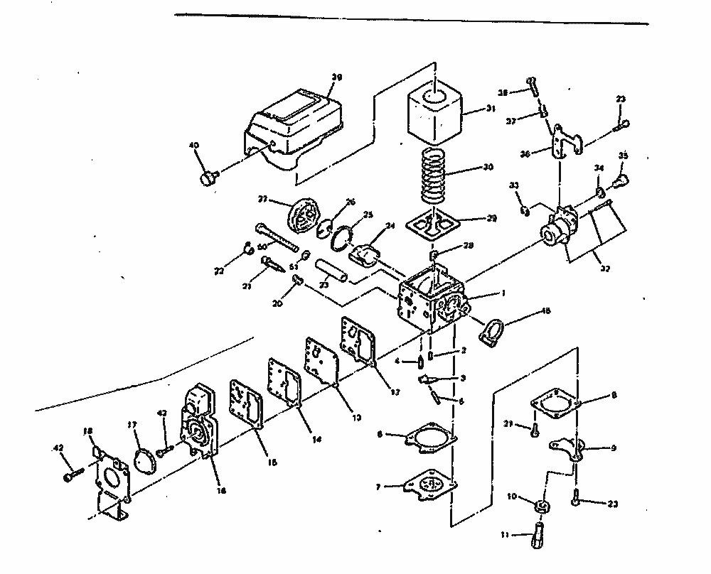
EC 03 E
pos.
descripción
Número de pieza
1
EC03F-0699C
2
FEDER
98-189
3
HEBEL
166-48
4
DUESENNADEL
82-67
5
STIFT
144-77
6
DICHTUNG
92-146
7
MEMBRANE
95-526
8
DECKEL
21-158
9
HALTER
167-86
10
MUTTER
134-57
11
SCHRAUBE
96-304
12
DICHTUNG
92-223
13
MEMBRANE
95-88
14
PUMPENPLATTE
157-275
15
DICHTUNG
92-250
16
PRIMERDECKEL
21-790
17
PRIMER
188-11
18
PUMPENHALTER
167-98
20
FEDER
98-438
21
HAUPTDUESE
102-374
22
DUESENANSCHLAG
68-20
23
STEIGROHR
122-157
24
FILTERELEMENT
125-53
25
DICHTUNG
92-242
26
PLATTE
157-292
27
SCHAUGLAS
25-71
28
PLATTE
157-263
29
GRUNDPLATTE
157-294
30
LEITBLECH
98-3018
31
LUFTFILTER
125-54
32
DROSSELVENTIL KPL.
34-523
33
SPRENGRING
16-71
34
SCHEIBE
136-90
35
BOWDENZUGNIPPEL
52-18
36
LEERLAUFHEBEL
167-100
37
FEDER
98-323
38
LEERLAUF-EINSTELLSCHRAUBE
96-314
39
FILTERGEHAEUSE
21-444
40
SCHRAUBE
96-592
41
SCHRAUBE
96-316
42
SCHRAUBE
96-295
44
*** keine Bezeichnung vorhanden
96-296
46
DICHTUNG
16-101
50
EC02-7450
51
SCHEIBE
0031104000
Toro
Roth / TORO
Robin
Brushcutter
BH2500AU
NB26
NB26_91
NB31
NB31_91
NB31AU
Rod
Throttle Control
Motor
Carburetor
Attachements
Trimmerhead (double)
Tripple Blade
NB40
NB211A
NB211A_91
NB221A
NB223A
NB251AU
NB253AU
NB321AU
NB411
NB411AU
NB2001A
NB2001AU
NBF171
NBF251
NBF252
NBT415
Vac/Blower
Condiciones
(C) by motoruf