volver a
>
Roth / TORO
>
Ride-On Mowers
>
Rider
>
11-32
>
375/70142
>
79000001
>
Linkage Assy.
Lista de repuestos para Toro Roth / TORO Linkage Assy.
pos.
descripción
Número de pieza
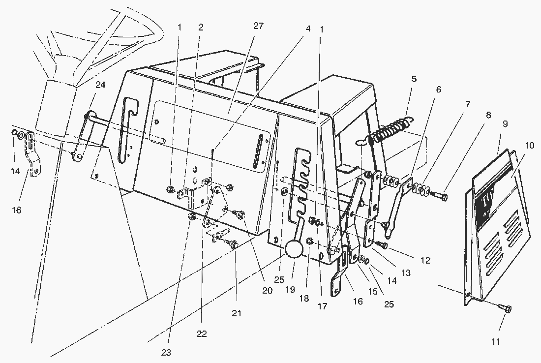
1
MUTTER
3296-29
2
Bracket-Bell Crank Mount
80-2310
4
Cotter Pin
3272-6
5
Spring-Extension
62-3930
6
Lever-Height-of-Cut
47-1850
7
Washer-Belleville
3290-413
8
Bolt-Shoulder
28-0540
9
Panel L.H.-Base, Seat
92-0878
10
Decal-L. H .
93-1194
11
Capscrew
321-4
12
Hex Hd. Capscrew
322-5
13
Bracket-Height-of-Cut
47-1840
14
Retaining Ring
32151-61
15
Bracket-H.O.C., Engage
80-2321
16
Link-Suspension, Deck
63-5830
17
Washer
3256-23
18
MUTTER
3296-42
19
Knob-Shift Lever
233-48
20
Screw-Shoulder
19-1470
21
Bolt-Shoulder
65-5670
22
Crank-Bell, Deck Engage
80-2360
23
Locknut
3296-8
24
Arm-Lever, H.O.C.
56-7400
25
Washer
3256-26
27
Decal-Control Panel
92-7982
Toro
Roth / TORO
Ride-On Mowers
Traktor
Rider
HMR 1600
12-32 E
12-32
11-32
375/70142
79000001
Engine B&S Model 28D707-0124-01
Peerlesss Transaxle Model No. 915-019
Deflector Assy. - Recycler
Mower Assy. - Recycler (Cont.)
Mower Assy. - Recycler
Stand Bar Assy.
Rear Axle Assy.
Engine Assy.
Transmission Linkage Assy.
Seat Assy.
Seat Body & Side Panel Assy.
Linkage Assy.
Steering Wheel, SwitchES & Decals
Brake & Clutch Assy.
Front Axle Assy.
Front Tower Assy.
69000001
59000001
10-32 E
8-25
110-4E
110-4
Mower decks
Attachements
Hand operated
Robin
Condiciones
(C) by motoruf