volver a
>
Roth / TORO
>
Ride-On Mowers
>
Traktor
>
265 H
>
504/72064
>
6900001
>
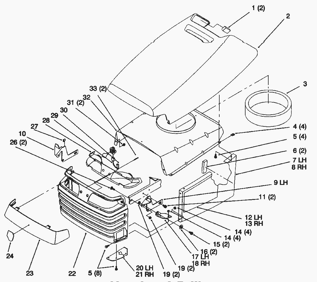
Hood and Grill
Lista de repuestos para Toro Roth / TORO Hood and Grill
pos.
descripción
Número de pieza
2
Hood
93-0490
3
Inlet-Seal Air (Only On: 72043, 72042, 72063, 72062)
92-7077
4
Nut
92-7006
5
Screw-Hex. Hd.
32105-15
6
Foam-Sidepanel
92-7148
7
Sidepanel-LH Hood
93-0491
8
Sidepanel-RH Hood
93-0492
9
Bracket-Hinge LH
92-6918-03
10
Bracket-Hinge RH
92-6917-03
11
Screw-Wash. Hd., Tap.
32144-14
12
Decal-Hood LH
92-6728
13
Decal-Hood RH
92-6729
14
Hex Flange Locknut
32128-10
15
Capscrew
322-3
16
Bushing
105503
17
Hinge-Hood LH
92-6997-03
18
Hinge-Hood RH
92-6996-03
19
MUTTER
3296-29
20
Bracket-Hood Hinge LH
92-7049-03
21
Bracket-Hood Hinge RH
92-7048-03
22
Grille & Screen ASM
93-0494
23
Lens-Headlight
92-6656
24
Decal-Horsehead
92-6987
26
Carriage Bolt
3230-1
27
Clip-Wire Retainer
702366
28
Reflector & Lamp
88-3970
29
Harness-Wire
88-4320
30
Tie Strap
614249
31
Screw-TAP
46-8093
32
Baffle-Hood Upper
92-6914-03
33
Screw-Plastite
32144-32
Toro
Roth / TORO
Ride-On Mowers
Traktor
264-6
246 HE
244-5
212-H
212-5
17-44 HXLE
16-44 HXL
16-38 HXL
16-38 XLE
15-44 HXL
15-38 HXL
14-38 HXL
14-38 XL
13-38 HXL
13-38 XL
13-32 XLE
12-38 HXL
12-38 XL
12-32 XL
264 H
265 H
504/72064
6900001
Hood and Grill
Dash
Steering Wheel and Tilt
Lower Steering
Front Axle
Seat
Fender and Footrest
Fuel Tank and Hydro Reservoir
Single Cylinder Engine, Muffler, and P.T.O.
Clutch
Battery
Hoodstand and Firewall
Lift Lever and HOC
Frame
Hydro Drive Components
Hydro Brake
Hydro Control
Hydro Transaxle
Rear Wheel
Crankshaft
Crankcase
Oil Pan/Lubrication
Cylinder Head/Valve/Breather
Ignition/Electrical
Blower Housing & Baffles
Start System
Fuel System
Engine Controls
Air Intake/Filtration
Exhaust
Transaxle Case
Center Case
Pump Shaft
EngineShaft
Range Shift
Bypass Return
Lever Damper
N-Centering
Brake Interlock
Differential Gear
Final Pinion
Axle Shaft
Brake
7900001
8900001
8900600
504/72070
267 H
268 H
270 H
520 xi
520 Lxi
523 Dxi
Rider
Mower decks
Attachements
Hand operated
Robin
Condiciones
(C) by motoruf