volver a
>
Roth / TORO
>
Ride-On Mowers
>
Rider
>
8-25
>
372/70060
>
59000001
>
Frame Assy.
Lista de repuestos para Toro Roth / TORO Frame Assy.
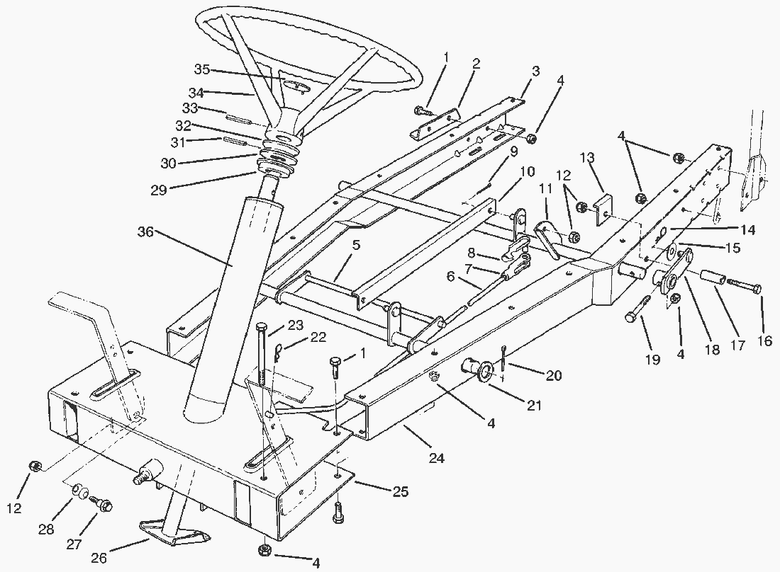
pos.
descripción
Número de pieza
1
Capscrew
322-3
2
Mount-Bearing, Axle
44-7140-01
3
Channel-R.H.
67-0520-01
4
MUTTER
3296-29
5
Lift W.A.-Front, Deck
67-0010-03
6
Rod-Clutch
67-0430
7
Clevis
282-27
8
9
Cotter Pin
3272-6
10
Bracket-Link, H.O.C.
76-3890
11
Tube W.A.-Support, Rear
67-0050-01
12
Locknut
3296-39
13
Brace-Stop, Deck
67-1510-03
14
Hairpin Cotter
3290-355
15
Washer-Flat
67-1460
16
Capscrew
323-10
17
Spacer-Stop, Deck
68-8380
18
Lever W.A.-H.O.C.
76-3790
19
Bolt-Mounting, Axle
46-2511
20
Pin-Cotter
3272-23
21
Flat Washer
3256-29
22
Hair Pin Cotter
3290-250
23
Screw-Cap Hex. Hd.
322-14
24
Channel-L.H.
67-0530-01
25
Frame W.A.-Front
67-0450-01
26
Shaft W.A.-Steering
67-0830-03
27
Bolt-Shoulder
67-0870
28
Washer-Belleville
3290-413
29
Bushing-Steering
67-0850
30
Washer-Steering
67-0860
31
Pin-Roll
32121-32
32
Spacer-Steering
67-0440
33
Pin-Roll
32121-78
34
Wheel-Steering
49-3242
35
Insert-Wheel, Steering
88-9840
36
Decal
76-4080
Kit-Loose parts
13-6049
Toro
Roth / TORO
Ride-On Mowers
Traktor
Rider
HMR 1600
12-32 E
12-32
11-32
10-32 E
8-25
372/70122
372/70060
89000001
79000001
59000001
Transmission Peerlesss Model 700-025
B&S Model No. 195707-0121-01
Starter-B&S No. 195707-0121-01
Cutting Unit Assy.
Differential Assy.
Rear Axle Assy.
Electrical Schematic
Engine Assy.
Transmission & Linkage Assy. (Cont.)
Transmission & Linkage Assy.
Rear Body Assy.
Front Axle Assy.
Seat & Fuel Tank Assy.
Frame Assy.
Front Body Assy.
49000001
39000001
6900001
110-4E
110-4
Mower decks
Attachements
Hand operated
Robin
Condiciones
(C) by motoruf