volver a
>
Roth / TORO
>
Hand operated
>
Lawnmower
>
4-stroke
>
455/20803 B
>
6900001
>
Engine B&S Model 12F802-0667-01
Lista de repuestos para Toro Roth / TORO Engine B&S Model 12F802-0667-01
Lista de repuestos 1
Lista de repuestos 2
Lista de repuestos 3
Lista de repuestos 4
Lista de repuestos 5
Lista de repuestos 6
Lista de repuestos 7
Lista de repuestos 8
Lista de repuestos 9
pos.
descripción
Número de pieza
493386
493387
298908
493390
490743
pos.
descripción
Número de pieza
1
Cylinder Assembly
493260
2
Bushing-Cylinder Note: Requires special tools for installation.
293708
3
Seal-Oil
299819
5
Head-Cylinder
214349
7
Gasket-Cylinder Head
272916
8
Breather-Valve Chamber
495786
9
Gasket-Breather
272481
9
Gasket-Baffle Plate
272238
10
Screw-Hex. Head
94650
11
Tube-Breather
231933
13
Screw-Cylinder Hd.
94547
52
Gasket-Intake Elbow
272199
54
Screw-Intake Elbow Mtg.
94526
227
Lever Assembly-Governor
492349
230
Washer-Governor Crank
67072
284
Screw-Hex Head
94511
306
Shield-Cylinder
224324
307
Screw-Hex Head
94515
337
Plug-Spark (Resistor Type-1-7/8 high, 47 M.M.)(Model No. 38566 only)
802592
383
Wrench-Spark Plug
89838
523
Cap With Dipstick-Oil Filler
495264
524
Seal-Filler Tube
280393
525
Tube-Oil Filler
495265
562
Bolt-Carriage
94852
572
Baffle-Cylinder
224328
592
Nut-Hex.-10-24
231082
615
Pushnut (Governor Crank)
94474
616
Crank-Governor
262578
625
Tube-Fuel Intake
497465
635
Elbow-Spark Plug
66538
842
Seal-O-Ring
280966
847
Oil Fill Tube and Dipstick Assy.
495263
869
Seat-Intake Valve (Standard)
213512
870
Seat-Exhaust Valve (Standard)
213513
871
Guide-Exhaust Valve Note: 63709 Guide-Intake Valve See Repair Instruction Manual
262001
Guide-Exhaust Valve
63709
1019
Label Kit
494256
pos.
descripción
Número de pieza
12
Gasket-Crankcase
272198
15
Plug-Oil Drain
94720
16
Crankshaft Note: Order 94388 For Timing Gear Key.
494546
Timing Gear Key.
94388
18
Sump-Engine
493279
20
Seal-Oil
399781
22
Screw-Sump Mtg. Sem
94220
Screw Hex. Head (One (1) Used in Hole Nearest Breather)
94612
24
Key-Flywheel
222698
25
Piston Assy.-Standard
493262
Piston Assy.-.010 O.S.
493385
26
Ring Set-Std. Piston
493261
Ring Set-.010 O.S. Piston
493388
Ring Set-.020 O.S. Piston
493389
27
Lock, Piston Pin
26026
28
Pin Assy., Piston, Std.
298909
29
Rod Assembly-Connecting Note: For Connecting Rod with .020 undersize Crankpin Bearing-Order No. 490743
490566
32
Screw-Connecting Rod
94699
33
Valve-Exhaust
262651
34
Valve-Intake
262652
35
Spring-Valve
262224
40
Retainer, Valve Spring
93312
45
Tappet-Valve
262204
46
Gear-Cam
492830
47
Oil Slinger Gear and Brkt.
493737
741
Gear-Timing
262598
pos.
descripción
Número de pieza
95
Screw-Throttle Valve Mounting Sem
94098
104
Pin-Float Hinge
231371
116
124
Screw-Carburetor Mtg.
94525
125
Carburetor
497314
127
130
Valve-Throttle
224908
131
Shaft and Lever-Throttle
493267
133
Float Assy.-Carburetor
398187
134
Valve-Inlet (Includes Seat)
398188
137
617
Seal-Fuel Intake Tube
270344
634
955
Screw-Bowl Mtg. (Std.) Note: 496495 Screw Bowl Mtg.(High Altitude)
497315
Screw-Bowl Mtg. (High Altitude)
496495
975
Bowl Assembly-Carburetor
493640
pos.
descripción
Número de pieza
188
Screw-Hex. Head
94644
188
Screw-Hex. Head
94602
201
Link-Governor
262579
209
Spring-Governor
263046
258
Screw-Hex. Head
94512
620
Bracket-Carburetor
497203
620
Bracket-Control
225152
621
Switch-Stop
396847
670
Spacer-Carburetor Bracket
493823
922
Spring-Brake
262640
923
Brake Assembly
493442
pos.
descripción
Número de pieza
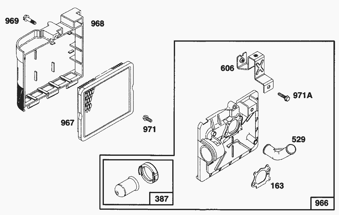
163
Gasket-Air Cleaner
272653
387
Primer-Carburetor
496115
529
Grommet-Breather
281299
606
Strap-Bracket
224815
966
Base-Air Cleaner
496116
967
Filter-Air
491588
968
Cover-Air Cleaner
281340
969
Screw-Cover Mtg.
94120
971
Screw-Backplate to Carburetor
94121
971
Screw-Hex. Head
94749
pos.
descripción
Número de pieza
55
Housing-Rewind Starter
497440
56
Pulley-Rewind Starter
498144
58
280399
59
Insert-Rewind Handle
224467
60
Handle-Rewind Starter
493926
456
Retainer-Rewind Starter
281503
459
Pawl-Starter
281505
461
Pin-Starter
94943
515
Spring-Torsion
263073
608
Starter Assy.-Rewind
497680
Screw-Rewind Starter (Model No. 38566 only)
94128
Nut-Hex.
92987
pos.
descripción
Número de pieza
23
Flywheel-Magneto
492177
37
Guard-Flywheel
224511
304
Housing-Blower
493293
305
Screw-Sem
94744
332
Nut-Flywheel
92284
333
Armature-Magneto
802574
334
Screw-Armature Mounting
94731
356
Wire-Ground
398808
363
Flywheel Puller (Optional Accessory)
19069
455
Cup-Starter
225121
851
Terminal-Ignition Cable
493880
pos.
descripción
Número de pieza
81
Lock-Muffler Screw
223664
187
Hose-Fuel (Cut To Suit)
492790
188
Screw-Tank Mounting (Includes Washer)
398540
300
Muffler-Exhaust
496106
346
Screw-Sem
93705
601
Clamp-Fuel Pipe
93053
613
Screw-Muffler Mtg.
94231
670
Spacer-Fuel Tank
280512
676
Deflector-Muffler
493871
883
Gasket-Exhaust Cap
272253
957
Cap Assy-Fuel
397974
972
Tank Assembly-Fuel
495224
pos.
descripción
Número de pieza
121
Carburetor Overhaul Kit
493762
358
Gasket Set
497316
617
Seal-Fuel Intake Tube
70344
977
Gasket Set-Carburetor
490937
Toro
Roth / TORO
Ride-On Mowers
Hand operated
Sweeper
Snowthrower
Vac/Blower
Lawnmower
Grass Baggers
4-stroke SP
4-stroke
486/20904 BC
486/20903 B
486/20902 B
486/20901 B
486/20900
478
476
455/20803
455/20803 B
6900001
Engine B&S Model 12F802-0667-01
Bag Assy.
Handle Assy. (Model No. 20803B only)
Rear Axle Assy. (Model No. 20803B only)
Engine Assy.
Blade Assy.
Housing Assy. (Cont.)
Housing Assy.
455/20802 BC
455/20801 B
452
438
433
423
414/20814
414/20805
412
411
408
400
2-stroke SP
2-stroke
Electric
Battery
Robin
Condiciones
(C) by motoruf