volver a
>
Robin
>
Brushcutter
>
NB26
>
Carburetor
Lista de repuestos para Toro Robin Carburetor
pos.
descripción
Número de pieza
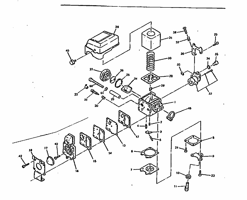
1
EC02F-0699C
2
FEDER
98-189
3
HEBEL
166-48
4
DUESENNADEL
82-67
5
STIFT
144-77
6
DICHTUNG
92-146
7
MEMBRANE
95-526
8
DECKEL
21-158
9
HALTER
167-86
10
MUTTER
134-57
11
SCHRAUBE
96-304
12
DICHTUNG
92-223
13
MEMBRANE
95-88
14
PUMPENPLATTE
157-275
15
DICHTUNG
92-250
16
PRIMERDECKEL
21-790
17
PRIMER
188-11
18
PUMPENHALTER
167-98
20
FEDER
98-438
21
HAUPTDUESE
102-374
22
DUESENANSCHLAG
68-20
23
STEIGROHR
122-157
24
FILTERELEMENT
125-53
25
DICHTUNG
92-242
26
PLATTE
157-292
27
SCHAUGLAS
25-71
28
PLATTE
157-263
29
GRUNDPLATTE
157-294
30
LEITBLECH
98-3018
31
LUFTFILTER
125-54
32
DROSSELVENTIL KPL.
34-523
33
SPRENGRING
16-71
34
SCHEIBE
136-90
35
BOWDENZUGNIPPEL
52-18
36
LEERLAUFHEBEL
167-100
37
FEDER
98-323
38
LEERLAUF-EINSTELLSCHRAUBE
96-314
39
FILTERGEHAEUSE
21-444
40
SCHRAUBE
96-592
41
SCHRAUBE
96-316
42
SCHRAUBE
96-295
44
*** keine Bezeichnung vorhanden
96-296
46
DICHTUNG
16-101
50
EC02-7450
51
SCHEIBE
0031104000
Toro
Roth / TORO
Robin
Brushcutter
BH2500AU
NB26
Rod
Motor
Carburetor
Attachements
Trimmerhead (double)
Tripple Blade
NB26_91
NB31
NB31_91
NB31AU
NB40
NB211A
NB211A_91
NB221A
NB223A
NB251AU
NB253AU
NB321AU
NB411
NB411AU
NB2001A
NB2001AU
NBF171
NBF251
NBF252
NBT415
Vac/Blower
Condiciones
(C) by motoruf