volver a
Solo
>
Motorised Trimmers
>
Semi-Professional Trimmers
>
130
>
SP 02/1998 Print 9 130 701
>
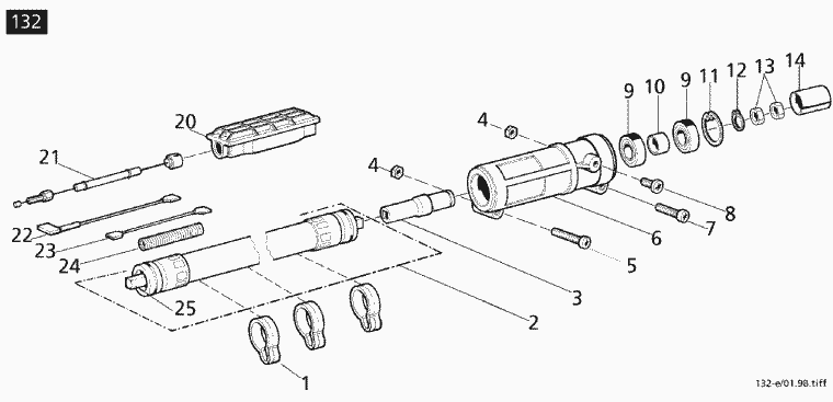
Flexible shaft + Clutch sleeve 132
Lista de repuestos para Solo Motorised Trimmers Flexible shaft + Clutch sleeve 132
pos.
descripción
Número de pieza
1
bowden cable support
5074988
2
flexible shaft
3300190
3
shaft
2033134
4
nut
0020131
5
screw
0018340
6
clutch sleeve
2011805
7
screw
0018338
8
screw
0018405
9
ball bearing
0050177
10
distance sleeve
0033362
11
circlip
0055134
12
circlip
0055166
13
ring
2074952
14
sleeve
6043991
20
tension piece
2074848
21
bowden cable, gas
2800567
22
short-circuit cable
0084740
23
ground calbe
0084739
24
tube
0064415 R
25
drive shaft
6035345
Solo
Pesticide Applicators
Chain Saws
Motorised Trimmers
Professional Trimmers
Semi-Professional Trimmers
130R / 130LR / 130 BR
132
130 H
130
SP 02/1998 Print 9 130 701
Accessories
Tools / Standard equipment
Carrying frame 132
Flexible shaft + Clutch sleeve 132
Gear / Protection
Shaft / Protection
Handle/ Throttle control
handle / Throttle control
Engine Honda
Engine / Housing
127 H
127
Lightweight Gasoline-Powered Trimmers
Electric Trimmers
Rotor Tillers
Sickle Bar Mowers
Soil Aerator
Lawn Mower
Air Blowers
Multimot
Condiciones
(C) by motoruf