volver a
AS-Motor
>
Samix Gartenhäcksler
>
Super S-E 3/2
>
Schnitzelmesser
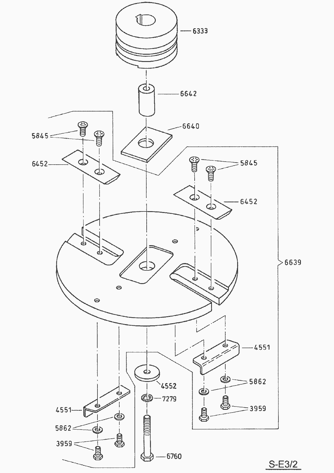
Lista de repuestos para AS Motor Samix Gartenhäcksler Schnitzelmesser
pos.
descripción
Número de pieza
3959
Sechskantschraube
E03959
4551
WINDFLÜGEL
E04551
4552
Scheibe
E04552
5845
Senkschraube mit Sternantrieb
E05845
5862
SPERRKANTSCHEIBE
E05862
6333
RIEMENSCHEIBE
E06333
6452
SCHNITZELMESSER
E06452
6639
MESSERTRÄGERSCHEIBE VOLLST.
E06639
6640
MITNEHMER
E06640
6642
DISTANZHÜLSE 32 LG.
E06642
6760
SECHSKANTSCHRAUBE
E06760
7279
SCHR.SICHERUNGSSCHEIBE F. M8
E07279
AS Motor
AS Batterierasenmäher
AS 45 Ausputzmäher
AS 46 Variomat
AS 45 Universal
AS 53 Standard
AS 53 Allrad
AS 55 Heckauswurf
AS 550 Heckauswurf
AS Allmäher
AS Enduro
AS Schlegelmäher
AS Mulchmeister
AS Aufsitzmäher
Samix Gartenhäcksler
Junior S-E 1.9
Junior S-E 2.0/2.6
Junior S-E 2.0/2 + S-E 2.6/2
Rapido S-E 2.4/2.5
Rapido S-E2.4/2+S-E2.5/2
Rapido S-B/4T
Rapido S-B4T/2
Super S-E3/E4/B6
Super S-E 3/2
Gehäuse
Häckselmesser
Schnitzelmesser
Super S-E 3.7/2
Super SB 7/SE4.7
Super S-B7/2 + S-E4.7/2
AS Wildkraut-Hex
Verschleissteile
Condiciones
(C) by motoruf