volver a
AS-Motor
>
Samix Gartenhäcksler
>
Junior S-E 2.0/2 + S-E 2.6/2
>
Schnitzelmesser
Lista de repuestos para AS Motor Samix Gartenhäcksler Schnitzelmesser
pos.
descripción
Número de pieza
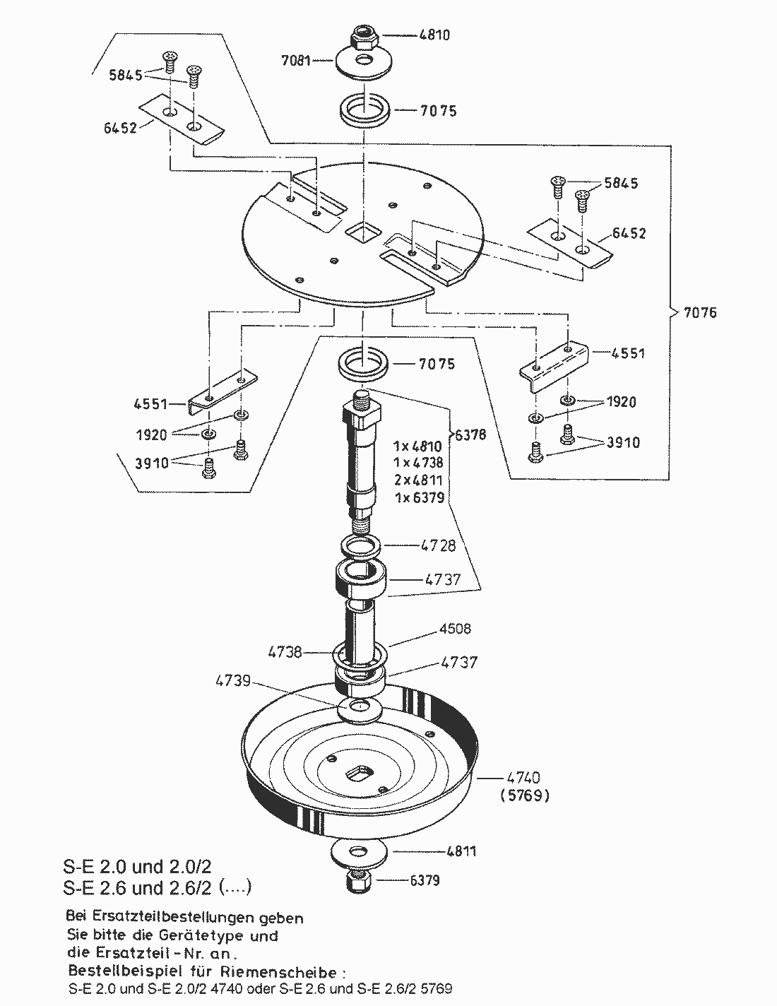
1920
FEDERSCHEIBE
E01920
3910
6-kt.Schraube
E03910
4508
PASSSCHEIBE
E04508
4551
WINDFLÜGEL
E04551
4728
STÜTZSCHEIBE
E04728
4737
Rillenkugellager
E04737
4738
DISTANZHÜLSE 46 LG.
E04738
4739
TELLERFEDER
E04739
4740
RIEMENSCHEIBE S-E2.0+S-E2.0/2
E04740
4810
SECHSKANTMUTTER
E04810
4811
SCHEIBE
E04811
5769
RIEMENSCHEIBE S-E2.6+S-E2.6/2
E05769
5845
Senkschraube mit Sternantrieb
E05845
6378
SCHNITZELMESSERWELLE M.BEF.TEI
E06378
6379
SECHSKANTMUTTER
E06379
6452
SCHNITZELMESSER
E06452
7075
ABSTANDSHÜLSE
E07075
7076
MESSERTRÄGERSCHEIBE VOLLST.
E07076
7081
SCHEIBE
E07081
AS Motor
AS Batterierasenmäher
AS 45 Ausputzmäher
AS 46 Variomat
AS 45 Universal
AS 53 Standard
AS 53 Allrad
AS 55 Heckauswurf
AS 550 Heckauswurf
AS Allmäher
AS Enduro
AS Schlegelmäher
AS Mulchmeister
AS Aufsitzmäher
Samix Gartenhäcksler
Junior S-E 1.9
Junior S-E 2.0/2.6
Junior S-E 2.0/2 + S-E 2.6/2
Motor/Gehäuse
Schnitzelmesser
Häckselmesser
Rapido S-E 2.4/2.5
Rapido S-E2.4/2+S-E2.5/2
Rapido S-B/4T
Rapido S-B4T/2
Super S-E3/E4/B6
Super S-E 3/2
Super S-E 3.7/2
Super SB 7/SE4.7
Super S-B7/2 + S-E4.7/2
AS Wildkraut-Hex
Verschleissteile
Condiciones
(C) by motoruf