volver a
AS-Motor
>
AS 46 Variomat
>
AS 46 B2/4T
>
Messer
Lista de repuestos para AS Motor AS 46 Variomat Messer
pos.
descripción
Número de pieza
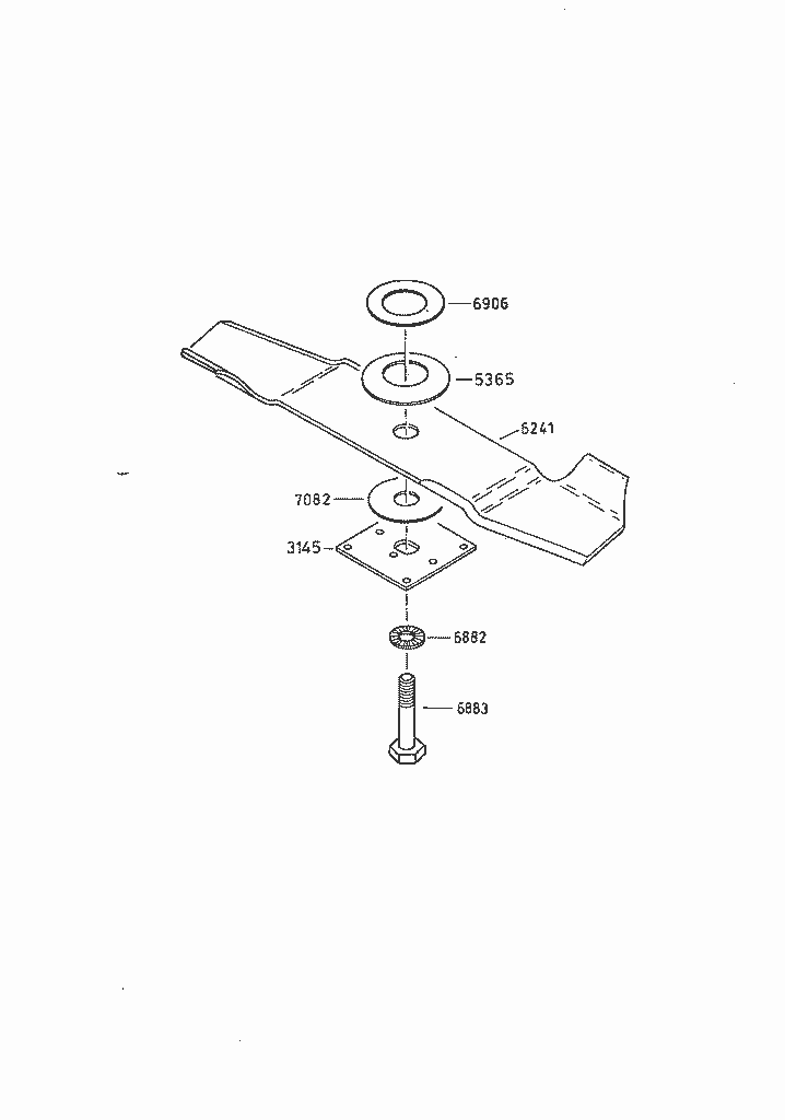
3145
DRUCKTELLER
E03145
5365
TELLERFEDER
E05365
6241
ERSETZT durch E08159
E06241
6882
SPERRKANTSCHEIBE
E06882
6883
Sechskant-Zollschraube
E06883
6906
ERS.D. E08288+ANLEITUNG
E06906
7082
REIBSCHEIBE
E07082
AS Motor
AS Batterierasenmäher
AS 45 Ausputzmäher
AS 46 Variomat
AS 46 B2
AS 46 B2/4T
Gehäuse
Antriebsblock
Holm
Riemen
Messer
AS 45 Universal
AS 53 Standard
AS 53 Allrad
AS 55 Heckauswurf
AS 550 Heckauswurf
AS Allmäher
AS Enduro
AS Schlegelmäher
AS Mulchmeister
AS Aufsitzmäher
Samix Gartenhäcksler
AS Wildkraut-Hex
Verschleissteile
Condiciones
(C) by motoruf