volver a
AS-Motor
>
AS Allmäher
>
AS 21 AH8
>
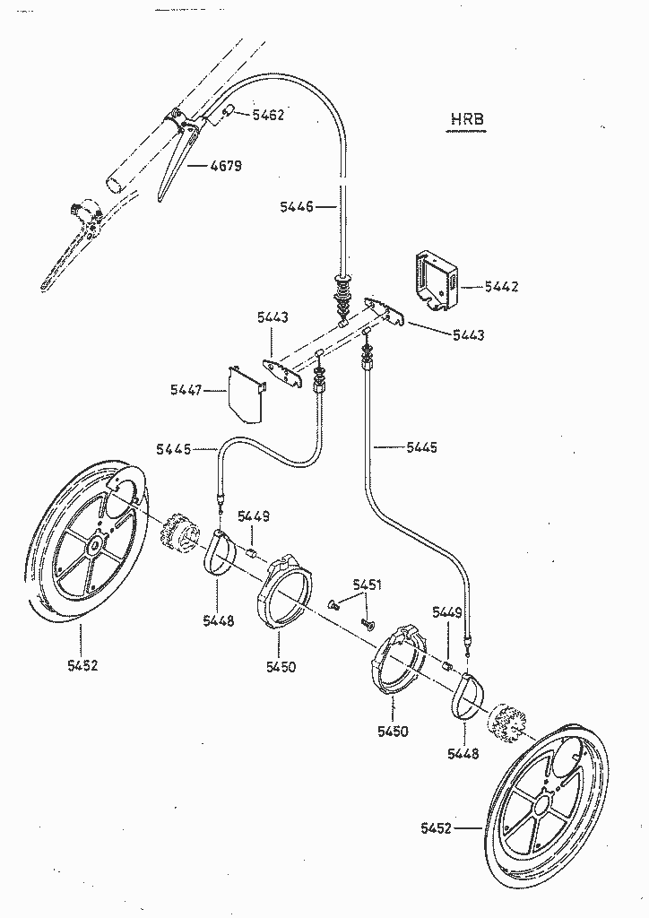
HRB
Lista de repuestos para AS Motor AS Allmäher HRB
pos.
descripción
Número de pieza
4679
HEBEL M.KLINKE BREITER SCHELLE
E04679
5442
BREMSVERTEILER GEHÄUSE
E05442
5443
BREMSHEBEL
E05443
5445
ZUG F. HINTERRADBREMSE KURZ
E05445
5446
ERSETZT DURCH E06115
E05446
5447
BREMSVERTEILER DECKEL
E05447
5448
BREMSBAND
E05448
5449
QUERNIPPEL
E05449
5450
ABDECKRING
E05450
5451
Senkschraube
E05451
5452
DECKBLECH
E05452
5462
ZENTRIERHÜLSE
E05462
AS Motor
AS Batterierasenmäher
AS 45 Ausputzmäher
AS 46 Variomat
AS 45 Universal
AS 53 Standard
AS 53 Allrad
AS 55 Heckauswurf
AS 550 Heckauswurf
AS Allmäher
AS 21 AH9
AS 21 AH1
AS 21 AH1.2
AS 21 AH1/4T
AS 21 AH8
Gehäuse
Antriebsblock
Grundmotor
Messer / Luftfilter
Starter
Vergaser
LVA
HRB
DOB
AS 21-165/2
AS 21-165/3
AS 26 AH 8
AS 26 AH 9
AS 26 AH 9/3
AS Enduro
AS Schlegelmäher
AS Mulchmeister
AS Aufsitzmäher
Samix Gartenhäcksler
AS Wildkraut-Hex
Verschleissteile
Condiciones
(C) by motoruf