volver a
>
Roth / TORO
>
Ride-On Mowers
>
Traktor
>
520 Lxi
>
521/73580
>
210000001
>
Carburetor Assy.
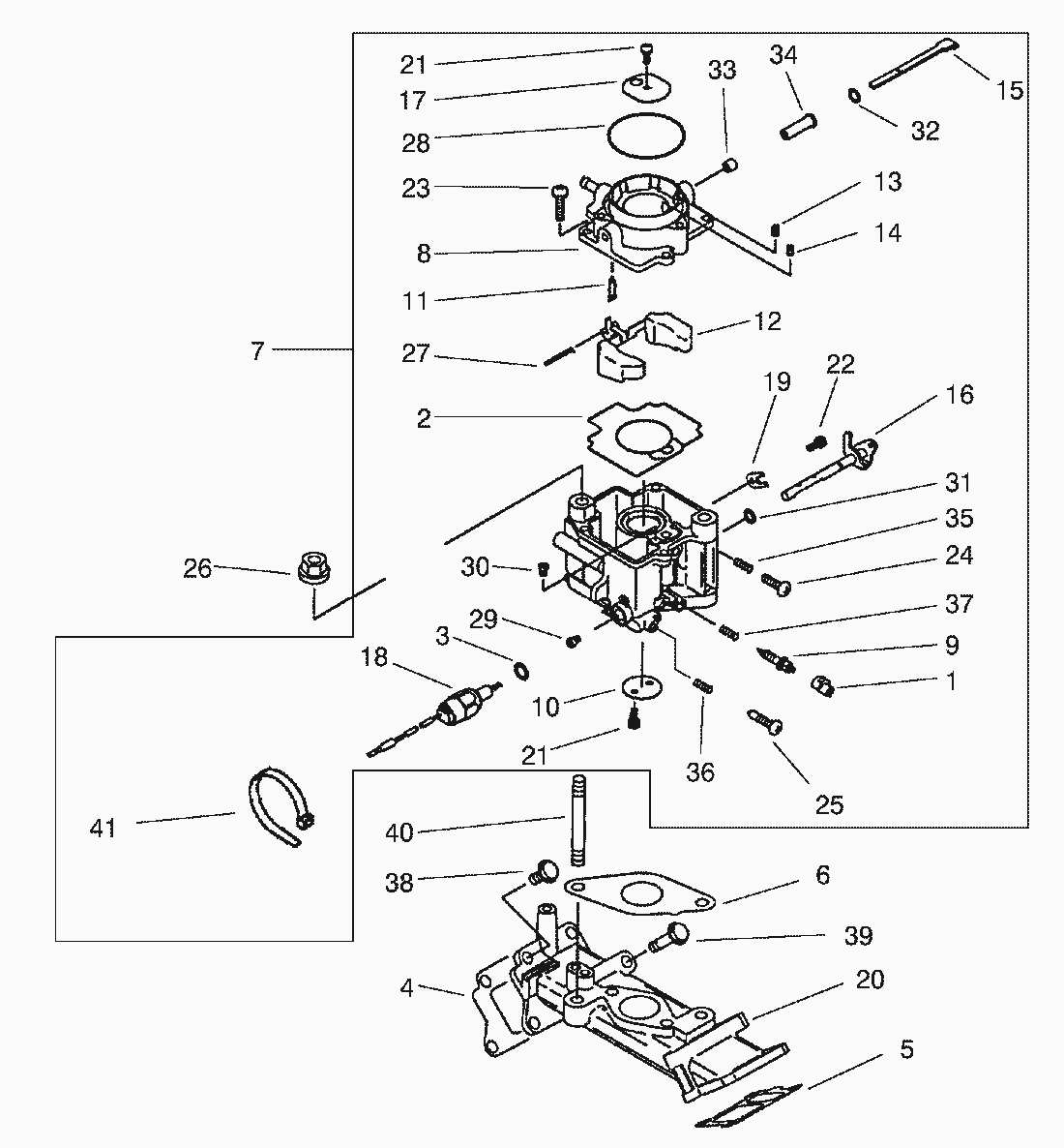
Lista de repuestos para Toro Roth / TORO Carburetor Assy.
pos.
descripción
Número de pieza
1
Cap
95-9857
2
Gasket
95-9858
3
Gasket
95-9859
4
Gasket
95-9860
5
Gasket
95-9861
6
Gasket
95-9862
7
Carburetor ASM
98-7366
8
Cap-Chamber
95-9864
9
Screw-Pilotair
95-9865
10
Valve-Throttle
95-9866
11
Valve-Float
95-9867
12
Float
95-9868
13
Jet-Air
95-9869
14
Jet-Air
95-9870
15
Shaft-Carburetor
95-9871
16
Shaft-Carb.
98-7367
17
Valve
95-9873
18
Solenoid
95-9874
19
Stopper
95-9875
20
Manifold-Intake
95-9876
21
Screw
95-9877
22
Screw
95-9878
23
Screw
95-9879
24
Screw
95-9880
25
Screw
95-9881
26
Nut
KW10621
27
Pin
95-9883
28
O-Ring
95-9972
29
Jet-Main
95-9884
30
Jet-Pilot
95-9885
31
Seal
95-9886
32
Plate-RH Iso
95-3887
33
Collar
95-9888
34
Collar
95-9889
35
Spring
95-9890
36
Spring
95-9891
37
Spring
95-9892
38
Bolt-Flanged
95-9893
39
Bolt-Flanged
95-9894
40
Bolt-Stud
95-9895
41
Clamp
98-7368
Toro
Roth / TORO
Ride-On Mowers
Traktor
264-6
246 HE
244-5
212-H
212-5
17-44 HXLE
16-44 HXL
16-38 HXL
16-38 XLE
15-44 HXL
15-38 HXL
14-38 HXL
14-38 XL
13-38 HXL
13-38 XL
13-32 XLE
12-38 HXL
12-38 XL
12-32 XL
264 H
265 H
267 H
268 H
270 H
520 xi
520 Lxi
521/73546
521/73580
9900001
200000001
210000001
Bumper & Hood Support
Steering Tower & Fuel Tank SupportS Assy.
Attach-A-Matic & Hitch Assy.
Power Steering Lower Assy.
Power Steering & Tilt Assy.
Tie Rods, Spindle & Front Axle Assy.
Hydro Transaxle Assy.
Hydro Transaxle Assy. (Cont.)
Hydro Transmission Assy. No. 94-2003
Drive Shaft Assy.
Hydro Lift Lower Assy.
Hydro Lift Upper Assy.
Hood & HeadLight Assy.
Grill & Side Panels Assy.
Dash Assy.
Fender, Footrest, & Seat Assy.
Fender, Footrest, & Seat Assy. (Cont.)
Smart Turn Rear Assy.
Hi-Lo Shift Assy.
Parking Brake Upper Assy.
Hydro Controls Assy.
Smart Turn Front Assy.
Parking Brake Lower Assy.
Cruise Control Assy.
Fender & Fuel System Assy.
Wheel Assy.
Liquid Cooled GAS Engine Assy.
Liquid Cooled GAS Engine Assy. (Cont.)
Electrical 20HP Assy.
Crankcase Assy.
Piston & Crankshaft Assy.
Valve/Camshaft Assy.
Oil Pump & Filter Assy.
Water Pump Assy.
Electrical Components
Governor Assy.
Carburetor Assy.
Air Cleaner Assy.
Fuel Pump & Filter Assy.
Starter Assy.
523 Dxi
Rider
Mower decks
Attachements
Hand operated
Robin
Condiciones
(C) by motoruf